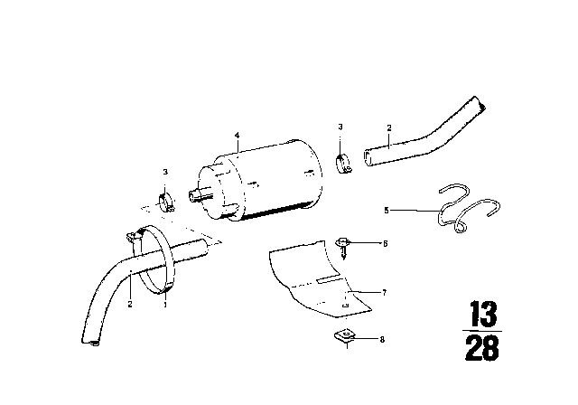
3 diagrams found. Select a diagram to view its particular parts.- 1.Fuel supply/pump/filter
- 2.Fuel supply/pump/filter
- 3.Fuel supply/pump/filter
Ref No.
Part No. & Part Description
Price & Qty.
Part No. &
Part Description
01 
16111177646Hose clamp- Extra Info: L10-12
- Production Date: Till 197901
- Require Quantity: 6
- Package Quantity: 1
- Replaced By: 07129952102
02 
02
16121111607Suction device- Production Date: 197104 - 197510
03
03 
03 
16111177646Hose clamp- Extra Info: L10-12
- Production Date: Till 197901
- Require Quantity: 2
- Package Quantity: 1
- Replaced By: 07129952102
05
13311256503Strap- Production Date: 197001 - 197510
05 
07 
07119922832Hex nut- Extra Info: M6-8-ZNS
- Require Quantity: 6
- Package Quantity: 10
- Replaced By: 07119905543
07
07
08 
08
09 
09
09
16121110497
Filter cartridge
10 
10 
Genuine BMW Parts, the Right Choice
BMWPartsDeal.com offers the wholesale prices for genuine 1972
BMW 2002tii parts. Parts like Fuel Supply / Pump / Filter are shipped directly from authorized BMW dealers and backed by the manufacturer's warranty. Parts fit for the following vehicle options.